DIN    444 
   s   
   s   
     4.6 
 Werkstoff/   
 strength   
   s 
 Oberfläche/   
 surface   

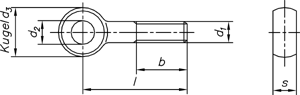
Augenschrauben, Form B
Eye bolts


 d 1  M 6  M 8  M 10  M 12  M 16  M 20  M 24 
 b bis 125 mm  18  22  26  30  38  46  54 
 b bis 200 mm  -  28  32  36  44  52  60 
 b über 200 mm  -  -  -  49  57  65  73 
 d 2 H 9  6  8  10  12  16  18  22 
 d 3 max.  14  18  20  25  32  40  45 
 s max.  7  9  12  14  17  24  28 

Maße in mm


Nicht aufgeführte Abmessungen und/oder Ausführungen bitte anfragen.