DIN    546 
   s   
   s   
      
 Werkstoff/     Stahl  
 strength     steel  
   s    
 Oberfläche/      
 surface      

Schlitzmuttern
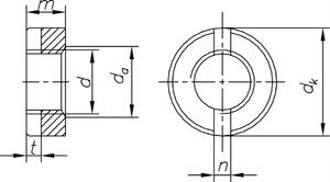
Slotted round nuts


 b  M 3  M 4  M 5  M 6  M 8  M 10  M 12 
 da max.  3,5  4,6  5,75  6,75  8,75  10,8  13 
 d k  6  8  9  11  14  18  21 
 m  2,5  3,5  4,2  5  6,5  8  10 
 n  1,2  1,4  2  2,5  3  3,5  4 
 t max.  1,2  1,6  1,9  2,4  3  3,7  4,3 

Maße in mm


Nicht aufgeführte Abmessungen und/oder Ausführungen bitte anfragen.