DIN
7978 A
ISO
8736 A
s
Werkstoff/
Stahl, ungehärtet
strength
steel, unhardened
s
Oberfläche/
geschliffen
surface
polished
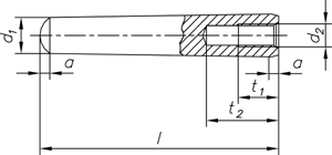
Kegelstifte mit Innengewinde
Taper pins with internal thread
d1 h10
6
8
10
12
16
20
d2
M 4
M 5
M 6
M 8
M 10
M 12
t1
6
8
10
12
16
18
t2
10
12
16
20
25
27
a
0,8
1
1,2
1,6
2
2,5
Maße in mm
Nicht aufgeführte Abmessungen und/oder Ausführungen bitte anfragen.